首 页
|
加入收藏
|
联系我们
项 目
项 目
采 购
新 闻
机 构
搜索
首页
中心概况
完美(中国)官方频道
国资采购
资讯中心
市场平台
交易指南
交易系统
当前位置
>
交易指南
>
交易流程
交易指南
交易规则
交易流程
其他
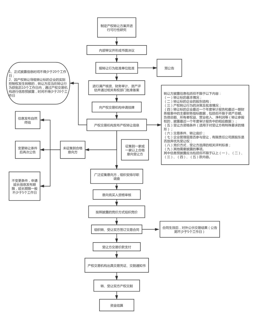
企业国有产权转让交易流程
发布时间:
2018-03-13
企业国有产权转让交易流程.pdf
江南官方体育
|
中欧在线
|
mksports官方网站登录入口
|
开坛体育
|
球速官方网站
|
球速体育在线客服
|
MK国际平台
|
ky开元
|
ky网页
|